IFE '4T81' Model
Universal Bypass Log Grapples,
Bypass Stone & Scrap Grapples
The 4-Tine Configuration of IFE’s Universal Bypass Grapples Are Suitable For Handling Log’s, Stones, Boulders, Piles of Brush & Timber, Scrap, and a Variety of Other Materials, Eliminating the Need to Have Multiple Grapples!
'4T55' Closed with Rigid Rotator & Excavator Quick Coupler
'4T61' Grapple At Work Moving Logs
'4T81' Open with 'HR36011' Rotator & Half Hanger
Model '4T61' Closed with 'HR3607' Rotator
Model '4T61' Closed with 'HR3607' Rotator
Model '4T61' Open with 'HR3607' Rotator
ICM GRA-R Series Hydraulic Rotating Grapple
International Construction Machinery GRA-R Series Log Grapples
International Construction Machinery GRA-R Series Hydraulic Rotating Log Grapples
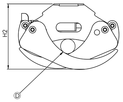
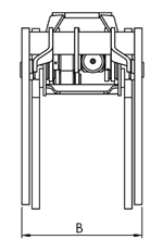
'4T81' GRAPPLE SPECIFICATIONS
Capacity 11,000lbs.
Max Pressure Bar 250
Grapple Weight 770 lbs.
A) 81"
B) 21"
H1) 35"
H2) 26"
D) 6.7"
'4T81' GRAPPLE SPECIFICATIONS
Capacity 11,000lbs.
Max Pressure Bar 250
Grapple Weight 770 lbs.
A) 81"
B) 21"
H1) 35"
H2) 26"
D) 6.7"
Specifications & Designs Are Subject to Change Without Notice